Promoções de equitação
Promoções Estábulo
229 artigos
Umbria Equitazione
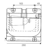
Bebedouro de nível constante Umbria Equitazione com tampa de inox
45,39 €
52,90 €











































































